直流绝缘体积表面电阻率测试仪 ; 范围:
1本试验方法包含直流绝缘电阻,体积电阻和表面电阻的测量所用直流程序。通过该测量及样本和电极的几何尺寸,可以计算出电绝缘材料的体积电阻和表面电阻,同时还可以计算出相应的电导和电导率。
2这些试验方法不适用于测量中等导电材料的电阻/电导。这些材料评估可采用试验方法D4496。
3本标准描述了几种可选择的测量电阻(或电导)的普通备用方法。特殊材料科采用合适的标准ASTM试验方法进行测试,这些特殊材料具有电压应力范围和有限起电时间,同时规定了样本结构和电极几何形状。这些个别特殊试验方法将能更好得定义测量值的精度和偏差。
4本标准并没有完全列举所有的安全声明,如果有必要,根据实际使用情况进行斟酌。使用本规范前,使用者有责任制定符合安全和健康要求的条例和规范,并明确该规范的使用范围。
直流绝缘体积表面电阻率测试仪 ; 典型应用
1测量防静电鞋、导电鞋的电阻值
按照国家标准GB4386-84《防静电胶底鞋(靴)、导电胶底鞋(靴)电阻值测量方法》防静电鞋的电阻值必须为0.5.?105Ω1.0?108Ω范围内,导电鞋的电阻值必须不大于1.5X105欧姆.不仅制造厂在出厂时必须按这一标准检验,合格后才能出厂,在工厂使用过程中也必须按这一标准进行定期检验,合格后才能穿用。 ; ; ;
制造厂测量新鞋的电阻值时,应将硫化后有新鞋放置24小时以上,然后在测量所要求的温度、湿度环境中放置2小时以后才能进行测量。使用单位在定期检测时应将鞋洗干净,其温湿度的要求及放置时间同上。测量环境要求为:温度:10℃ ~40℃相对湿度为40%~70%。 由于HEST121型数字表面、体积电阻率测定仪是内部同时测量电压和电流,且直接显示出电阻值,所以不必另外使用电压表和电流表以及计算电阻值。
通常测试防静电鞋只用106、107、108Ω档,测试完毕将开关拨回104档。
; ; ; ;根据上述测试的结果,根据标准来确定被测鞋是否合格或能否穿用。 ; ; ; ;
2.测量防静电材料的电阻及电阻率
; ; ; ;一般防静电材料的电阻值在105Ω~1010Ω左右的范围内,其测量电极可采用三电极或二电极,其具体测量方法可参照有关的标准或有关资料。
3.测量计算机房用活动地板的系统电阻值
; ; ; ;按照国家标准GB6650-86《计算机房用活动地板技术条件》。采用该标准的电极(也可用三电极中的主电极)测量。
4.测量绝缘材料电阻(率)
; ; ; ;绝缘材料如塑料(聚乙稀,聚氯乙稀,尼龙等)橡胶等的电阻率很高,测量时应采取屏蔽措施,以免读数不稳甚至无法测量。测量时可采用三电极。具体方法可参照国家标准GB1410。
5.测量电流及1014Ω以上超高电阻的测量 ; ; ;
; ; ; ;当测量超过1014Ω以上的超高电阻时,可以通过测量电流的方法,然后用欧姆
定律求出超高电阻值。测量电流与测量电阻的方法基本相同, ;
例如:电流表头显示读数为1.234,量程位置处在10-8,则电流为I=1.234?10-8 ;A
利用欧姆定律
; ; ; ;V
R= ---
; ; ; ;I
可以计算出电阻值。利用测量电流的方法可测量超过1014Ω以上的超高电阻1015~1018Ω。
;
粉末电阻率测试仪在多个工业及科研领域具有关键应用,其核心应用场景可归纳如下:
1.新能源电池材料
正负极材料优化:用于锂电池正极材料(如磷酸铁锂、三元材料)和负极材料(如石墨、硅碳复合)的导电性能评估,通过电阻率与压实密度关联分析提升电池能量密度和循环寿命。
固态电解质研发:测量硫化物/氧化物固态电解质的离子电导率(通过电阻率换算),研究压力对离子传导通道的影响。
生产质控:监控极片涂布和辊压工艺后的电阻一致性,确保电池电芯性能稳定。
2.炭素与冶金工业
原料质检:检测煅后石油焦、无烟煤、金属粉末的纯度与粒度分布,依据行业标准(如YS/T 587.6)控制3MPa压力下的电阻率。
粉末冶金工艺:优化金属粉末成型工艺(如3D打印、粉末冶金),分析电阻率对成型件导电性和结构稳定性的影响。
3.陶瓷与绝缘材料
陶瓷粉体性能:评估氧化铝、氧化锆等陶瓷粉末的电阻率,指导烧结工艺以提升制品致密度。
绝缘材料筛选:测量高分子粉末、陶瓷颗粒的超高电阻率(>;10 . Ω?cm),确保其在电气绝缘场景的可靠性。
4.颜料与塑料工业
导电塑料开发:优化炭黑/金属粉末填料的添加比例,通过电阻率测试调控塑料的导电性和抗静电性能。
颜料性能评估:分析颜料电阻率对涂料分散性、涂层附着力的影响。
5.半导体与柔性电子
半导体粉末测试:测量硅粉、锗粉等材料的电学性能,支撑柔性电极开发(如氧化锌-聚合物复合电极)。
可穿戴设备:用于半导体粉末传感器(如二氧化锡氨气传感器)的电阻率响应特性分析。
应用价值总结
领域 核心价值
新能源电池 关联压实密度与电阻率,优化电极材料结构,提升电池一致性
炭素冶金原料质量控制,缩短质检时间(如某厂商从3小时/批次降至20分钟)
半导体研发 推动柔性电子、储能材料(如钙钛矿太阳能电池)的创新应用
备注:测试方法需适配场景——四探针法(符合锂电池标准GB/T 24533)用于高精度分析,两探针法则适用于常规导电性筛查
产品特点 ;
系统由800*480分辨率的高清晰彩色触摸屏显示测试过程参数。操作过程简单明了,测试信息一览无余 ;
智能系统自检测功能:让用户随时掌握设备的基本度。 ;
;
高精度,高稳定度的测试结果:承诺精度0.15%, 实际精度,大部分档位出厂<;0.08%。 ;
测试式样编号功能:用户可以输入测试式样的编号,或者有系统自动加1。方便用户将式样分类。方便将来查询。 ;
式样参数输入:可以输入测试试样的直径,测试粉末容器的电压测试距离并有系统自动保存。 ;
试样截面积自动显示。 ;
测试过程简单方便。测试材料参数,正向电压,反向电压,电阻率结果同屏显示,一目了然。 ;
机箱内温度自动检测,自动启动降温系统。 ;
内置实时时钟为系统记录测试时间提供数据。 ;
测试结果自动记录:试样编号,电阻率,测试时间。 ;
;

本机可以记录,查询,删除以往测试记录。 ;
可以通过随机的计算机软件上传测试记录到计算机,并可以导出成excel格式数据文件, 供用户归档,编辑,打印。 ;
。。。。。。
工作原理
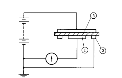
; ; ; ;根据欧姆定律,被测电阻Rx等于施加电压V除以通过的电流I。传统的高阻计的工作原理是测量电压V固定,通过测量流过取样电阻的电流I来得到电阻值。从欧姆定律可以看出,由于电流I是与电阻成反比,而不是成正比,所以电阻的显示值是非线性的,即电阻无穷大时,电流为零,即表头的零位处是∞,其附近的刻度非常密,分辨率很低。整个刻度是非线性的。又由于测量不同的电阻时,其电压V也会有些变化,所以普通的高阻计是精度差、分辨率低。
本仪器是同时测出电阻两端的电压V和流过电阻的电流I,通过内部的大规模集成电路完成电压除以电流的计算,然后把所得到的结果经过A/D转换后以数字显示出电阻值,即便是电阻两端的电压V和流过电阻的电流I是同时变化,其显示的电阻值不象普通高阻计那样因被测电压V的变化或电流I的变化而变,所以,即使测量电压、被测量电阻、电源电压等发生变化对其结果影响不大,其测量精度很高,从理论上讲其误差可以做到零,而实际误差可以做到千分之几或万分之几。
多场景应用适配
应用领域 典型材料 测试需求
新能源电池 磷酸铁锂、硅碳负极、石墨烯 压实密度与电阻率同步分析
炭素与冶金 石油焦、无烟煤、金属粉末粒度45–55目标准筛分
绝缘材料 高分子粉末、陶瓷颗粒超高电阻率测量(>;10 . Ω?cm)
产品特点:
本仪器具有精度高、显示迅速、稳定性好、读数方便,适用于防静电产品 如防静电鞋、防静电塑料橡胶制品、计算机房防树脂云母体积表面电阻率测试仪静电活动地板等电阻值的检验以及绝缘材料和电子电器产品的绝缘电阻测量。本仪器除能测电阻外,还能直接测量电流如电子器件暗电流等
关于测量原理,不同方法各有优劣:三电极法符合GB/T 10518标准,适合绝缘材料;四探针法对薄膜类更精准但要求样品平整。
技术参数方面有几个重点:电阻范围需覆盖10 . ~101 . Ω,电流检测要低至10 . 1 . A。电压档位最好有10-1000V多档调节,精度方面高阻值段(>;1012Ω)允许?20%误差是行业常态。
使用便捷性也不能忽视。试样处理环节很重要,直径小于100mm可能需要定制电极。
特别提醒用户注意多数设备环境温度限值40℃,真正的"高温"功能需单独确认,比如三环电极法的真空加热系统。
最后想到两个易遗漏点:一是电阻测试必须配合高温试验台使用;二是表面电阻和体积电阻的测量顺序不能颠倒。这些实操细节要在建议里强调。
技术指标
序号 ; ; ;项目 ; ; ;参数
1 ; ; ;电阻测量范围 ; ; ;0.01?104Ω~1?1018Ω
2 ; ; ;电流测量范围为 ; ; ;2?10-4A~1?10-16A
3 ; ; ;双表头显示 ; ; ;3.1/2位LED显示
4 ; ; ;内置测试电压 ; ; ;100V、250V、500V、1000V
5 ; ; ;基本准确度 ; ; ;1% (*注)
6 ; ; ;内置测试电压 ; ; ;100V、250、500、1000V
7 ; ; ;使用环境 ; ; ;温度:0℃~40℃相对湿度<;80%
8 ; ; ;供电形式 ; ; ;AC 220V,50HZ,功耗约5W
9 ; ; ;仪器尺寸 ; ; ;285mm?245mm?120 mm
10 ; ; ;质量 ; ; ;约2.5KG
测试电压(V)
DC—10V
DC—50V
DC—100V
DC—500V
DC—1000V
高温塑料薄膜电阻率测定仪
首先和提到仪器的工作温度范围通常是0-40℃,但用户要的是高温测定仪。仪器标注了"高低温"测试能力,虽然具体温度值没写,但既然能叫高低温测试仪,应该能满足基本高温需求。
技术参数方面,这些仪器共性很强:电阻测量范围都在10^4到10^18欧姆(见),测试电压标配多档位(10V-1000V可调),精度普遍在1%-5%之间。特别注意到的BEST-212型用了触摸屏,操作可能更便捷。
用户可能需要关注测量标准。和都强调符合GB/T 1410-2006和ASTM D257标准,这对出具权威报告很重要。
附件:
1.一年固保书及中文操作说明书各一份
2.电源线一条
3.测量线三根(屏蔽线、测试接线、接地线)
4.屏壁箱一个
5. ;固体电极一套
使用说明
(一)应满足下例要求:
1、测试电压范围应包括:100V~500V
2、测量范围应包括:1?106Ω~1?1017Ω
3、阻值大于1012Ω时,测量误差应小于?20%,阻值不大于1012Ω时,测量误差应小于?10%。
4、输入接线的绝缘电阻应大于仪器输入电阻的100倍。
5、测试时试样及测量导线应有良好。
6、仪器应定期进行校验。
(二)准备工作:
1、取被测液体(如:增塑剂)试样50ml。
2、试样应在温度23?2℃,相对湿度65?5%的条件下处理2小时以上。
(三)测试步骤:
1、测试温度23?2℃,相对湿度65?5%,无外界电磁场干扰环境中进行。
2、测试时对试样所加电压为100V~500V的直流电压,选择电压档次。
3、将试样倒入高压电极内,使液面刚好和环电极下缘全部接触为止。
4、将充分放电后的试样和电极,按固体(液体)体积及表面电阻率测试仪要求接线。
外电极(高压电极)接高固体(液体)体积及表面电阻率测试仪的高压输出端。
内电极(测量电极)接固体(液体)体积及表面电阻率测试仪的测量端。
中电极(环电极)接固体(液体)体积及表面电阻率测试仪的接地端。
5、仪器预热30分钟,稳定后调整仪器(调零),加上试验1分钟,读取电阻指示值,然后放电1分钟,再测试一次,以二次的算术平均值作为试验样品电阻指示值。
(四)计算方法:
按式(1)计算体积电阻系数(pv),计算结果取二位有效数字。
(五)注意事项:
1、测定电极必须放置在高绝缘的垫板上。
2、测定电极在测试前后,均应做好清洗工作,特别是三只电极的支撑件不得受到试样的污染
安全注意事项
1.使用前务必详阅此说明书,并遵照指示步骤,依次操作。
2.请勿使用非原厂提供之附件,以免发生危险。
3.进行测试时,本仪器测量端高压输出端上有直流高压输出,严禁人体接触 ,以
免触电。
4.为避免测试棒本身绝缘泄漏造成误差,接仪器测量端输入的测试棒应尽可 能悬
空,不与外界物体相碰。
5.当被测物绝缘电阻值高,且测量出现指针不稳现象时,可将仪器测量线屏 蔽端夹子接 上。 例如: 对电 缆测缆 芯与 缆壳的 绝缘 时,除 将被 测物两 端分 别接于 输入 端与高压 端, 再将电 缆壳 ,芯之 间的 内层绝 缘物 接仪器 “G”,以消 除因 表面漏 电而 引起的测 量误 差。也 可用 加屏蔽 盒的 方法, 即将 被测物 置于 金属屏 蔽盒 内,接 上测 量线。
什么是电阻率 .
电阻跟导体的材料、横截面积、长度有关。
导体的电阻与两端的电压以及通过导体的电流无关。
导体电阻跟它长度成正比,跟它的横截面积成反比.
(1)定义或解释
电阻率是用来表示各种物质电阻特性的物理量。用某种材料制成的长为1米、横截面积为1mm2米。的导体的电阻,在数值上等于这种材料的、电阻率。
(2)单位
在国际单位制中,电阻率的单位是欧姆?米。一般常用的单位是欧姆?毫米2/米。
(3)说明
①电阻率ρ不仅和导体的材料有关,还和导体的温度有关。在温度变化不大的范围内,几乎所有金属的电阻率随温度作线性变化,即ρ=ρo(1 at)。式中t是摄氏温度,ρo是O℃时的电阻率,a是电阻率温度系数。
②由于电阻率随温度改变而改变,所以对于某些电器的电阻,必须说明它们所处的物理状态。如一个220V
100W电灯灯丝的电阻,通电时是484欧姆,未通电时只有40欧姆左右。
③电阻率和电阻是两个不同的概念。电阻率是反映物质对电流阻碍作用的属性,电阻是反映物体对电流阻碍作用的属性。
售后内容:
一、我公司派工程师负责安装调试及培训。
二、产品自客户验收之日起,免费保修2年,终身维修。
1、设备安装调试:
免费为用户提供所购仪器的安装调试服务。在进行安装调试前用户方应提供相应的准备工作,并予以提前通知,具体安装调试日期双方可以协商而定。设备安装调试由多年行业资深工程师免费进行。保证用户可以正确使用、软件操作和一般维护以及应及故障的处理。
2、培 训:
我公司工程师免费为用户提供操作人员培训,直到操作人员能独立操作为止。
3、设备验收标准:用户方按订货技术要求进行验收。并符合国家标准要求。设备验收在用户方进行并由我公司安装调试技术人员和用户共同在维修报告上签字以确认仪器的调试工作完成。
4、设备维修服务:
我公司产品自用户现场调试验收合格后1年内免费保修,终身维护。在1年免费保修期内产品发生非人为质量问题,我公司为客户提供免费维修。如产品在免费保修期外出现故障,维修服务只适当收取材料成本费。
5、技术支持:对于所需仪器的用户,根据用户的要求提供专业的技术方案。除了常规的仪器服务外,我公司技术部还可为用户提供各种非常规设备的技术支持。
6、售后响应:在接到用户维修邀请后,2小时内做出反应,并给予解决。如未解决,我公司指派工程师及时到达用户现场,解决问题至设备正常使用为止。
业务咨询:932174181 媒体合作:2279387437 24小时服务热线:15136468001 亚游会官网 - 全面、科学的机械行业免费发布信息网站 Copyright 2017 PGJXO.COM 豫ICP备12019803号