液体体积表面电阻率测试仪制造商 A和P的计算公式
对于大多数用途,计算被保护电极的有效面积 A和有效周长P,下列近似公式已足够精确。
B. 1 有效面积 A
a) 圆电极(图2) A=π(d1 g)2 /4
b) 长方形电极 A= (a十g) (b十妇
C) 正方形电极 A=(a g)2
d) 管状电极(图3) A=π(do-h)(l1 g)
式中d0、d1、g、h和l1为图2、图3中所指的尺寸,当被保护电极为长方形或正方形时a和b分别为长度和宽度。尺寸均用米(或厘米)表示。
2、有效周长p
a) 圆电极 (图 2) P=π(d1 g)
b) 长方形电极 P=2(a b 2g)
C) 正方形电极 P=4(a g)
d) 管状电极(图3) P=2πd0
液体体积表面电阻率测试仪制造商 式中符号的意义与B. 1中的相同。
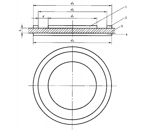
图2 平板试样上的电极装置 示例
1— 被保护电极;
2— 保护电极;
3— 试 样 ;
4— 不保护电极;
d1 被保护电极直径;
d2一保护电极内径;
d3-一 保护电极外径;
d4 不保护电极直径;
g一一电极间隙;
h.— 试样厚度
电极electrodes
电极是具有一定形状、尺寸和结构的与被测试样相接触的导体。
注:绝缘电阻是加在与试样相接触的两电极之间的直流电压与通过两电极的总电流之商 绝缘电阻取决于试样的表面电阻和体积电阻(见GB/T 10064-2006)

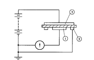
a)测量体积电阻率线路
①--被保护电极;
②--保护电极;
③--不保护电极。
试验程序
试样按本标准第7章、第8章、第9章、第10章进行准备
1 1.1 体积电阻
在测试以前应使试样具有电介质稳定状态。为此,通过测最装置将试样的测量电极l和3短路
(图1a)),逐步增加电流测量装置的灵敏度到符合要求,同时观察短路电流的变化,如此继续到短路电
流达到相当恒定的值为止,此值应小于电化电流的稳定值,或者小于电化1min的电流。由于短路电
流有可能改变方向,因此即使电流为零,也要维持短路状态到需要的时间。当短路电流I0变得基本恒
定时(可能需要凡小时),记下工。的值和方向。
然后加上规定的直流电压并同时开始记时。除非另有规定,褒如下每个电化时间作一次测量:
1 min、2 min、5 min、10 min、50 min、100 min。如果两次连续测量得出同样的结果,则可以结束试验并
用这个电流值来计算体积电阻。记录第一次观察到相同测量结累对的电化时间。如果在100 min内不
能达到稳定状态,则记录体积电阻与电化时间的函数关系。
作为验收试验,按照有关规范的规定,使用一个固定的电化时间如lmin后的电流僮来计算体积电
阻率。
11.2表面电阻
施加规定的直流电压,测定试样表面的两个测量电极(图1b。应在l min
的电化时间后测量电阻,即使在此时间内电流还没有达到稳定的状态。
重要性和用途:
1绝缘材料用于电子系统彼此和与地面之间隔离,该材料能提供零部件的机械支撑。由于此用途,通常要求具有尽可能高的绝缘电阻,以与可接受的机械、化学和耐热性能一致。因为绝缘电阻或电导组合了体积和表面电阻或电导,当实际使用时,要求试验样本和电极具有相同的形式,此时的测量值是非常有用的。表面电阻或电导随着湿度发生快速变化,然而体积电阻或电导则稍微变化,尽管总的变化在一些变化可能更大。
2电阻或电导可用于间接预测某些材料的低频率电介质击穿和损耗因数性能。电阻或电导通常作为湿度含量,固化程度,机械连续性或不同类型老化的间接测量方式。这些间接测量的效用取决于通过理论或经验研究确立的相关度。表面电阻的降低可导致因为电场强度降低而发生电介质击穿电压的增加,或者由于应力面积的增加而发生电介质击穿电压的降低。
3所有的电介质电阻或电导都取决于电化时间长短和施加的电压值(除了普通的环境变量之外)。这些因素必须已知,同时报告,以使得电阻或电导测量值有意义。在电绝缘材料工业中,形容词“表观”通常适用于在任意选择电化时间条件下获得的电阻值。见X1.4。
4体积电阻或电导可通过在特定应用场合设计某个绝缘体使用的电阻和尺寸数据计算得出。研究已经表明电阻或电导随着温度和湿度的变化而变化(1,2,3,4)4,同时在设计工作条件时,必须已知这种变化。体积电阻或电导测量值通常用于检查绝缘材料的均匀性,或者对于加工,可探测影响材料质量的导电杂质,而这不容易通过其它方法观察到。
5体积电阻超过1021Ω?cm(1019Ω?cm)时,样本在普通实验室条件测试获得的数值计算得出体积电阻,如果结果确实可疑,则应考虑通常使用的测量设备的局限性。
6表面电阻或电导不能精确测量,只能近似测量,因为体积电阻或电导总是受到测量方法的影响。测量值还受到表面污染的影响。表面污染及其积聚速度受到许多因素的影响,包括静电充电和界面张力。这些因素反过来可以影响表面电阻。当包括污染,但是在通常常识下判断不是电绝缘材料的材料性能时,此时表面电阻或电导可视为与材料性能相关。
意义
1 通常,绝缘材料用于将电气系统的各部件相互绝缘和对地绝缘;固体绝缘材料还起机械支撑作用。
对于这些用途,一般都希望材料具有尽可能高的绝缘电阻,有均匀一致的、得到认可的机械、化学和耐热
性能。表面电阻随湿度变化很快,而体积电阻随温度变化却很慢,尽管其 终的变化也许较大
2 体积电阻率能被用作选择特定用途绝缘材料的一个参数。电阻率随温度和湿度的变化而显著变
化,因此在为一些运行条件而设计时必须对其了解。体积电阻率的测量常被用于检查绝缘材料生产是
否始终如一,或检测能影响材料质量而又不能用其他方法检测到的导电杂质
3 一直流电压加在与试样相接触的两电极之间时,通过试样的电流会渐近地减小到一个稳定值。
电流随时间的减小 可能是 由于电介质极化和可动离子位移到电极所致。对于体积电阻率小 于
loll n"m的材料,其稳定状态通常在一分钟内达到,因此,经过这个电化时间后测定电阻。对于体积电
阻率较高的材料,电流减小的过程可能会持续到几分钟、几小时、几天甚至几星期。因此对于这样的材
料,采用较长的电化时间,且如果合适,可用体积电阻率与时间的关系来描述材料的特性.
4 由于或多或少的体积电导总是要被包括到表面电导测试中去,因此不能精确而只能近似地测量表
面电阻或表面电导。测得的值主要反映被侧试样表面污染的特性。而且试样的电容率影响污染物质的
沉积,它们的导电能力义受试样的表面特性所影响。。因此,表面电阻率不是一个真正意义的材料特性,
而是材料表面含有污染物质时与材料特性有关的一个参数。
某些材料如层压材料在表面层和内部可能有很不同的电阻率,因此测量清洁的表面的内在性能是
有意义的。应完整地规定为获得一致的结果而进行清洁处理的程序,并要记录清洁过程中溶剂或其他
因素对于表面特性可能产生的影响。
表面电阻,特别是当它较高时,常以不规则方式变化,且通常非常依赖于电化时间。因此,测量时通
常规定一 分钟的电化时间。
三电极接线说明
测量电阻可用二电极,一个接高压电极,另一个接电流电极就行了,仪器的地线用于屏蔽用,在测量高电阻时要与屏蔽箱的地相接以防干扰。测量低电阻时 可以不用。国家标准 GB1410《 固体绝缘材料绝缘体积电阻率和表面电阻率试验方 法》中推荐一种三电极测量方法:
它是由三个独立的电极组成:
1.中心为圆柱体,直径为50mm, 标准中没有规定高度,但一般是40mm
2.圆柱体外为一圆环,圆环内径为60mm,外径为80mm, 标准中没有规定高度,但一般是40mm
3.底为一平板, 直径为100mm的圆板. 标准中没有规定厚度,但一般为5mm
如果使用这种三电极测量材料表面电阻或体积电阻,可以按下图接线:
4.测表面电阻:(电流流过被测量物体表面时测得的电阻)
仪器高压输出(红)接圆环电极
仪器电流输入端(芯线)接圆柱电极
仪器地(黑,屏蔽线)接圆盘电极
5.测体积电阻:(电流流过被测量物体体内时测得的电阻)

仪器高压输出(红)接圆盘电极
仪器电流输入端(芯线)接圆柱电极
仪器地(黑,屏蔽线)接圆环电极
请将被测量材料放在圆盘电极上面,并且圆柱电极放在圆环电极的中间,先将屏蔽箱上的开关拨在中间0位置时,此时没有高压输出,将屏蔽箱盖好,然后再与仪器接线。
如果开关是在左边的Rv位置时,测量的是体积电阻Rv,此时电压加在底下的圆盘电极上,电流从圆盘电极经被测量材料体内流到柱电极。
如果开关是在右边的Rs位置时,测量的是表面电阻Rs,此时圆环电极改变为电压,圆盘电极为接线,电流从圆环电极经材料表面流到圆柱电极。
电阻定律
导体的电阻R跟它的长度L、电阻率ρ成正比,跟它的横截面积S成反比,这个规律就叫电阻定律(law of resistance),公式为R=ρL/S 。其中ρ:制成电阻的材料的电阻率,L:绕制成电阻的导线长度,S:绕制成电阻的导线横截面积,R:电阻值。
公式:R=ρL/S,R=U/I
ρ——制成电阻的材料电阻率,国际单位制为欧姆 ? 米(Ω ? m) ;
L——绕制成电阻的导线长度,国际单位制为米(m);
S——绕制成电阻的导线横截面积,国际单位制为平方米(m2) ;
R——电阻值,国际单位制为欧姆,简称欧(Ω);
U——电压值,国际单位制为伏特,简称伏(v);
I——电流值,国际单位制为安培,简称安(A)。
其中:
ρ叫电阻率:某种材料制成的长1米、横截面积是1平方毫米的导线的电阻,叫做这种材料的电阻率。是描述材料性质的物理量。国际单位制中,电阻率的单位是欧姆?米,常用单位是欧姆?平方毫米/米。与导体长度L,横截面积S无关,只与物体的材料和温度有关,有些材料的电阻率随着温度的升高而增大,有些反之。

使用注意事项
高阻测量一定要严格按使用方法步聚进行,否则有可能造成仪器永久损坏或电人。
1 应在“Rx”两端开路时调零(主机开机)
如接在电阻箱或被测量物体上时调零后测量会产生很大的误差。一般一次调零后在测试过程中不需再调零,但改变测量电压后可能要重新调零。
2 禁止将“Rx”两端短路,以免微电流放大器受大电流冲击
3 在测试过程中不要随意改动测量电压,
随意改动测量电压可能因电压的过高或电流过大损坏被测试器件或测试仪器,而且有的材料是非线性的,即电压与电流是不符合欧姆定律,有改变电压时由于电流不是线性变化,所以测量的电阻也会变化。
4 测量时从低次档逐渐拔往高次档
每拨一次稍停留1~2秒以便观察显示数字,当有显示值时应停下,记录当前的数字即是被测电阻值。若显示“1”时,表示欠量程应往高次档拔。直到有显示数字时为止。当有显示数字时不能再往高次档拨,否则有可能损坏仪器(机内有过电流保护电路)。除104 Ω档之外,当显示低于1.99,表示过量程应换低档!
5 大部分绝缘材料,特别是防静电材料的电阻值在加电压后会有一定变化而引起数字变化
由于本仪器的分辩率很高,因而会引起显示值的末尾几位数也变化,这不是仪器本身的问题,而是被测量对象的导电机理复杂而使得阻值有些变化。在这种情况下往往取2位有效数就够了。
6 接通电源后,手指不能触及高压线的金属部分
本仪表有二连根线:高压线(红)和微电流测试线。在使用时要注意高压线,开机后人不能触及高压线,以免电人或麻手。
7 测试过程中不能触摸微电流测试端
微电流测试端 怕受到大电流或人体感应电压及静电的冲击。所以在开机后和测试过程中不能与微电流测试端接触,以免损坏仪表。
8 在测量高阻时,应采用屏蔽盒将被测物体屏蔽.
在测量大于1010 Ω以上时,为防止外界干扰面而引起读数不稳。
9 每次测量完时应将量程开关拨回“104 ”档再进行下次测试
在测量时应逐渐将量程开关拨到高阻档,测量完时应将电流电阻量程、电压量程开关拨回低档。以 确保下次开机时量程开关处在低阻量程档。