厂家直销热线:13371226023(微信)
1、我公司是生产滚轮罐耳的厂家,有11年丰富的生产经验,滚轮罐耳轮皮采用聚氨酯为原料,耐磨耐用,我公司生产的滚罐耳型号有L25,L30,L35.L42.5等单轮罐轮罐耳,还有双轮滚轮罐耳,型号有LS30,LS35,LS42.5等,我司还可以根据客户的要求尺寸定做滚轮罐耳,比如说LS45型号的滚轮罐耳,我司还供应滚轮罐耳配件,如滚轮罐耳轮皮。欢迎全国各地矿业基地及经销商询价!
2、滚轮罐耳分为单轮滚轮罐耳和双轮滚轮罐耳,单轮滚轮罐耳用在两侧,双轮滚轮罐耳用在两个单轮的中间位置。
我公司生产的滚轮罐耳用于立井提升容器(箕斗、罐笼、平衡锤),为其提供导向和缓冲。我司生产的滚轮罐耳产品结构强度大,性能好、使用寿命长,可靠性高,运行平稳,调整方便,维修简单。滚轮罐耳弹簧浸油润滑,动态特性好,弹力稳定,是国家大力推广的绿色环保产品。滚轮罐耳有多种规格,能满足客户的各种需求。
滚轮罐耳型号有L25,L30,L35,L42.5,还有双轮L30,L35,L42.5,我司可以定做加工滚轮罐耳。
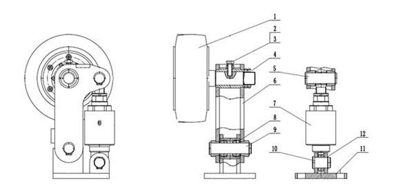
滚轮罐耳结构原理
滚轮罐耳是我公司自行研制开发的组合钢罐道导向装置,滚轮罐耳主要由滚轮、支架、弹簧缓冲装置,底座等组成。弹簧缓冲装置由调节套、调节螺杆、螺母、碟簧轴、导向套、并帽、紧定螺钉、碟簧、平键、缸筒等组成。
滚轮罐耳缓冲装置采用碟形弹簧组,其作用原理是滚轮受车通过支架、调节套、调节螺杆、碟簧轴施与碟簧轴上、下运动释放和压缩碟簧组实现缓冲。
碟簧轴在导向套内及缸筒底部的导向孔内上下运动,碟簧轴下端铣有键曹,受缸筒底部平键的作用碟簧轴不能转动。导向套拧入缸筒并压住碟簧轴使碟簧轴的轴肩压紧碟簧,为了安全可靠导向套用并帽锁紧,并与缸筒一起配钻孔、攻螺纹,用紧定螺钉紧固。
运转中由于滚轮的胶层被磨损,通过调节螺杆调节滚轮使滚轮前倾靠近罐道。调节螺杆一端为左旋螺纹另一端为右旋螺纹,分别拧入调节套和碟簧轴,调整时松开调节螺杆下边的螺母,逆时针转动调节螺杆,螺杆拧出,滚轮前倾靠近罐道,调好后紧固调节累杆下边的螺母。
安装、使用
滚轮罐耳的安装
将滚轮罐耳用螺栓与提升容器连接,调整好三个滚轮罐耳相对罐道的位置,保证与罐道的间隙一致,轴心线水平,径向中心线垂直于罐道面,然后锁紧固定螺栓。
滚轮罐耳的使用
根据滚轮磨损情况,应对滚轮进行调整,方法是松开螺杆锁紧螺母,转动螺杆使滚轮靠向罐道,间隙0~2mm,调好后紧固锁紧螺母。
注意事项及警示
应定期对滚轮主轴顶丝、螺母、轴端螺母及其余紧固件是否紧固、滚轮是否松旷、滚轮运转和磨损情况及摆架是否变形等进行检查,如发现异常应查明原因,复原后才能使用。
如发现质量问题,不得自行拆卸,应与经销商协商修理或退还,也可直接与本公司联系。
滚轮罐耳产品说明
L系列滚轮罐耳(煤安证号:MCI090003、MCI090004、MCI110121、MCI110122)用于矿山提升容器的导向缓冲,我公司生产的滚轮罐耳拥有多项专利(专利号:CN200420040065.0),技术性能国内领先。
本产品采用先进的密封技术,适应淋水、煤尘等恶劣环境。轮头安装采用三锁紧结构,彻底避免掉轮头事故的发生。滚轮采用四氢呋喃-环氧丙烷共聚醚型聚氨酯浇注,具有高弹性、耐撕裂、抗水性、抗油性的优点。滚轮磨损补偿调节采用左、右旋螺杆,调节迅速便捷。机座、摆架采用优质钢板焊接成型,体积小、重量轻,安装轻便。
滚轮罐耳结构特点
1.缓冲性能好,运行稳定;
2.使用寿命长;
3.滚轮磨损后补偿调节简便、可靠;
4.安装、维护轻便。
滚轮罐耳技术参数
型号 | 滚轮直径 ㎜ | 最大水平力 kN | 缓冲行程 ㎜ | |
单轮 | L25 | 250 | 12 | 13 |
L30 | 300 | 16 | 13.16 | |
L35 | 350 | 24 | 12.65 | |
L42.5 | 425 | 28 | 12.5 | |
双轮 | LS30 | 300 | 20 | 13.11 |
LS35 | 350 | 28 | 12.4 | |
LS42.5 | 425 | 30 | 12.3 | |
滚轮罐耳实物图
联系人:李开元
联系电话:13371226023
电话:0537-3153783
QQ:3406395274
邮箱:3406395274@qq.com
地址:济宁任城经济开发区山博路南、志学路西
公司简介 山东东达集团下属企业山东矿安机电有限公司、济宁东达机电责任有限公司、济宁东达电气有限公司。
公司现已拥有十大系列、四十多个品种的产品。公司主要产品有:带式给料机、往复式给料机、湿式混凝土喷射机、滚轮罐耳、无压风门、带式输送机用断带抓捕器、压风自救装置、气动阻车器、气动卧闸、气动挡车梁、斜巷防跑车装置(一坡三挡)、带式输送机输送带自动纠偏装置、立井箕斗定量斗装载设备、复合耐磨钢板、销齿操车成套设备、电动转辙机、通讯声光信号器、语言声光报警器、皮带机综合保护装置、矿用风门自动控制装置、矿用司控道岔装置、矿用自动洒水降尘装置、矿用跑车防护装置、电动转辙机、矿用UPS电源、气动清淤排污泵、气动双液注浆泵、气动隔膜泵、风动潜水泵、潜水排沙电泵等。


业务咨询:932174181 媒体合作:2279387437 24小时服务热线:15136468001 亚游会官网 - 全面、科学的机械行业免费发布信息网站 Copyright 2017 PGJXO.COM 豫ICP备12019803号